近期,動脈網在查閱藥品批準文號的時候發現不少“有趣”的現象,比如化藥和中藥的注冊類別弄反,不同藥品共用一個藥品批準文號,一個批準文號下面有多個劑型的現象。深究之下,發現藥品批注文號背后還有很多信息。補習下藥品批準文號的相關歷史,整理了關于藥品標準文號的幾個點。
藥品批準文號是啥?
藥品作為一種特殊的商品,管理較為嚴格。所以法律規定:“生產新藥或者已有國家標準的藥品,須經國務院藥品監督管理部門批準,并在批準文件上規定該藥品的專有編號,此編號稱為藥品批準文號。藥品生產企業在取得藥品批準文號之后,方可以生產該藥品。”

簡單理解,藥品批注文號就是藥品的生產許可,類似于圖書音像出版物的“ISBN”或者“ISRN”一樣。
這里還有需要注意的是,藥品批準文號是會過期的(一般按照藥物的種類如新藥、改良型、仿制藥等有一定的存續期,時間是3年或者5年),過期之后需要“再注冊”,批準文號不變。
進口藥由于不在國內生產,所以批準文號不是生產必須,但是也需向相關部門報備,獲得藥品進口許可,也叫批準文號。
藥品批準文號都是誰批準的?
上面說的是要向“國務院藥品監督管理”部門申請,其實就是國家藥監局。不過這里還有一段往事是,國家藥監局成立于1998年(原國家經濟委員會下屬的國家醫藥管理局,合并衛生部的藥政司,再吸收國家中醫藥管理局的部分機構,成立了國家藥監局,2003年再組建成國家食藥監局),在國家食藥監局成立之前,能夠批準藥品的有衛生部、各省的衛生廳,標準不一,基本是各自為政,也造成了藥品批準文號混亂的問題。
為便于統一管理,從2002年1月1日,藥品批準由國家食藥監統一受理,也有了統一的編碼格式。
命名規則是啥?
根據食藥監局(CFDA)發布的《關于做好統一換發批準文號工作的通知》,規范了藥品批準文號的格式,并在全國范圍內對藥品生產企業(進口)生產的藥品統一換發藥品批準文號。規則如下:
藥品批準文號格式:國藥準字+1位字母+8位數字,試生產藥品批準文號格式:國藥試字+1位字母+8位數字。化學藥品使用字母“H”,中藥使用字母“Z”,通過國家藥品監督管理局整頓的保健藥品使用字母“B”,生物制品使用字母“S”,體外化學診斷試劑使用字母“T”,藥用輔料使用字母“F”,進口分包裝藥品使用字母“J”。
數字第1、2位為原批準文號的來源代碼,其中“10”代表原衛生部批準的藥品,“19”、“20”代表2002年1月1日以前國家藥品監督管理局批準的藥品(19代表1998、1999年批準的,20代表2000、2001批準的),其它使用各省行政區劃代碼前兩位的,為原各省級衛生行政部門批準的藥品。第3、4位為換發批準文號之年公元年號的后兩位數字,但來源于衛生部和國家藥品監督管理局的批準文號仍使用原文號年號的后兩位數字。
數字第5至8位為順序號,也有規律可循,辨識點在于第五位數字。新藥后面四位為從0001開始,仿制藥從30001開始,轉讓換證從8001開始。也就是說,第五位是0,則是新藥;第五位是3,則是仿制藥;第五位是8,則是換證。

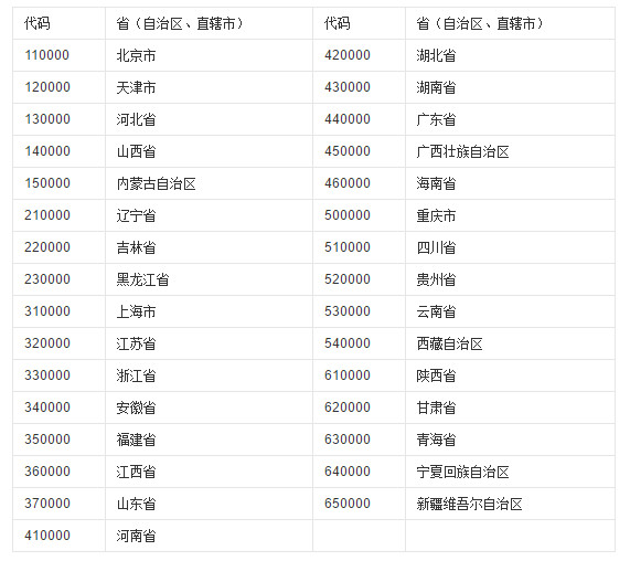
各地區代碼
藥品從研發到上市是一個系統性工程,化學藥上市需要十幾年的研發時間(從上萬種化合物中篩選),耗資數億,之后還要進行多期臨床實驗,保證安全有效;相對來說,生物藥(以生物提取物為主)提供了較為高效的創新空間,所以生物藥給藥企帶來了價值重塑和彎道超車的機會,藥企的原研意愿較此前也大有提升。
我國已上市國產藥品約18萬種類,進口藥品4000多種。在藥物注冊申報方面,食藥監局藥品評審中心的數據顯示,2016年藥審中心完成審評并送總局審批的注冊申請(再注冊、新藥注冊等)是12068件,較2015年提升了26%,有效消除了積壓。當然,完成審評的還是化學藥為主,占到總量的83%。
企業數年的經營就反映在藥品批準文號上面,什么種類、哪個部門批準的、什么時間注冊及通過的、是化學藥還是仿制藥、競爭情況怎么樣,都可以通過藥品批準文號解讀出來。
另外值得注意的是,日前最高人民法院通過了相關規定,將藥品注冊臨床數據造假入刑,最高可判處死刑。結合該信息再看藥品批準文號,就不會認為其是簡單的一串數字了。
【時尚貨架】作為專注于品牌店鋪服務的陳列道具供應商,在廣東佛山設有專業的貨架生產基地。主要產品有便利店貨架、藥品貨架、中藥柜、藥店收銀臺、精品超市貨架、母嬰店貨架、文具店貨架等,各式各樣供您選擇。歡迎登錄時尚貨架官網m.imgkd.cn咨詢、訂購。







